Το iPhone του μέλλοντος δεν θα παθαίνει τίποτα
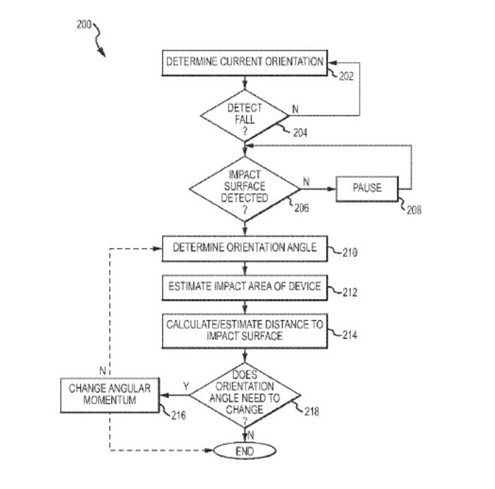
Η Apple επιδιώκει να βάλει ένα οριστικό τέλος στα παράπονα των πελατών της για λυγισμένα ή σπασμένα iPhones. Για το λόγο αυτόμόλις πατεντάρισε ένα ειδικό σύστημα που προφανώς θα ενσωματωθεί στα επόμενα μοντέλα της με ειδικές δονήσεις και εσωτερικές φυγόκεντρες περιστροφές που θα φροντίζουν όταν οι συσκευές πέφτουν προς τα κάτω να προσγειώνονται με τέτοια γωνία ώστε να μην παθαίνουντίποτα περισσότερο από ένα μικρό βαθούλωμα στο αλουμίνιο.
Έτσι λοιπόν με τη νέα αυτή πατέντα όταν θα σας φεύγει από το χέρι το καινούργιο σας iPhone αντί να σας κυριεύει το άγχος θαπεριμένετε χαλαρά το τηλέφωνο να ολοκληρώσει την πτώση του ώστε να το ξαναπιάσετε και να το βάλετε στην τσέπη σας, χωρίς καν να σας απασχολεί αν έχει σπάσει η οθόνη.
Δείτε παρακάτω την πατέντα της Apple:
